En el mundo de la tecnología la innovación es importante, pero todas las marcas deben fijarse en los avances de sus rivales para mejorar sus propios productos. Ahora una patente de Sony apunta a que podría trabajar en una portátil al estilo de Nintendo Switch, si bien con la información disponible a día de hoy resulta complicado hacerse una idea de si sería una PS Vita 2 o un dispositivo completamente diferente.
Antes de nada, debemos aclarar que las patentes muchas veces revelan los planes de las empresas, pero nada garantiza que realmente lancen un producto basado en esos conceptos, y mucho menos que lo hagan a corto plazo. Sin embargo, esta patente de lo que parece ser una consola portátil, que ha registrado Sony, resulta muy interesante. Quizá sea un dispositivo similar a Nintendo Switch, pero también podría optar por otro enfoque.
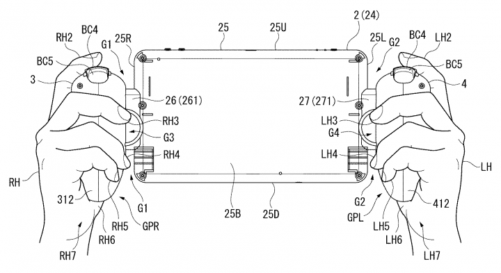
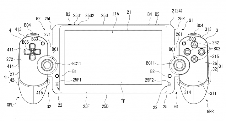
Hace tiempo que se comentó que en 2017 veríamos una nueva PS Vita, pero no se volvió a saber nada del tema. La patente de Sony nos muestra, aparentemente, una portátil con una parte central similar a una tablet, y dos mandos que parece que se podrían extraer, como lo hacen los de Nintendo Switch. La patente no hace referencia explícita a esa separación, y en ningún momento se menciona la posibilidad de usar este dispositivo en un televisor, así seguramente no sería una copia exacta.
Veamos una de las imágenes de la patente que ha obtenido Sony:
Una patente con muchos posibles significados
Realmente, no tenemos que pensar que unos mandos extraíbles suponen que la parte de la tablet se vaya a conectar a una base, o que la consola disponga de control por movimiento. Un explicación muy plausible sería que, si extraemos la tablet, se pueda usar independientemente, quizá con un sistema operativo como Android. Una idea arriesgada, pero que tendría éxito si se ha implementara bien.
Ahora bien, podríamos estar ante una PS Vita 2, que no tenga nada que ver con la Nintendo Switch, y sea una consola portátil tradicional, sin mandos extraíbles. El diseño resultaría un poco extraño en ese caso, aunque la patente es del año 2015, cuando poco se sabía de nueva máquina de Nintendo. Tampoco debemos descartar que se trate de un dispositivo de streaming y no una consola real.
PlayStation Now permite jugar de forma remota a través de Internet, sin que importe la potencia del dispositivo receptor. Además, los juegos de PlayStation 4 se pueden emitir a un PC o Mac, aparte de a PS Vita, aunque con limitaciones. Así que quizá no sea un portátil con capacidad gráfica propia, sino que recibiría los juegos remotamente.
Resulta dudoso que esta patente refleje un clon de Nintendo Switch, pero hay que tener en cuenta que la idea de Nintendo tampoco es original del todo, porque ya existía en una tablet orientad a los videojuegos. En cualquier caso, si la patente de Sony para una portátil supone que está trabajando en una PS Vita 2, los aficionados nos daremos por satisfechos.
¿Qué opinas de esta patente? ¿Crees que muestra una posible consola híbrida, una portátil tradicional o un concepto diferente?
Vía: NeoGAF
- Ver Comentarios

